济南品茶spa论坛,群狼谷论坛官网手机版,栖凤阁论坛网站,栖凤阁论坛网站

欢迎访问浙江优机机械科技有限公司网站!?。?

  • 全部咨询热线:
    0577-6713 6666

产品详细产品展示 >> 其他试验台 >> 电机壳测试台 >> M600阀门研磨机,便携式阀门研磨机,阀座维修研磨机

M600阀门研磨机,便携式阀门研磨机,阀座维修研磨机
M600阀门研磨机,便携式阀门研磨机,阀座维修研磨机
产品详情

 

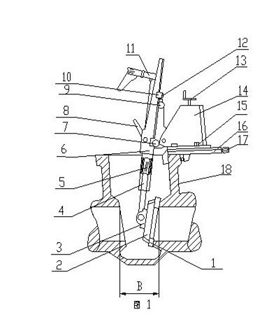
一、    机器简图
 
  
 
 
1.研磨支承架 2.研磨盘   3.万向法兰盘     4.伸缩臂  
5.六方轴     6.机体     7.机体夹紧手柄   8.手柄   
9.左右调节手柄    10.探深定位块   11.动力箱
12.微调螺钉  13.手轮   14.调整支架     15.螺栓   
16.底座      17.螺杆    18.阀门体
 
二、    概述
M-600型便携式阀门研磨机具有效率高、携带方便、操作简单,可以在管道现场修复阀门密封面等特点。适用于研磨闸阀(图2)、截止阀(图3)、闸板(图4)等。是高科技国家专利产品。
 
 
 
 
 

三、    技术指标
a)        适用阀门通径:DN200-600mm
b)        电机功率:1100W
c)        最大调整深度:900mm
d)       输入电压:220V
e)        操作重量:25kg
f)      最小开口尺寸:B=65mm
四、    安装
a)        按图1调整螺杆18将固定底座17固定在阀门体19上。
b)        将调整支架15用螺杆16固定在底座17上。
c)        将研磨爪1安装在研磨盘2上。然后装在联接盘3上。安装前先量好阀体被研磨面的中心直径。然后选择合适的研磨盘和研磨爪进行调整,以研磨爪1上的研磨片能全部覆盖阀体的被研磨面并且研磨片位于被研面中心为最佳。研磨盘2有不可调式Φ220、Φ240、Φ300、Φ350和可调式Φ190、Φ300共六种,研磨爪185mm、108mm、203mm三种各5件。I号可调研磨盘加85研磨爪研磨范围为Φ170~Φ285mmII号可调研磨盘加108研磨爪研磨范围为Φ270~Φ440mm,II号可调研磨盘加203研磨爪研磨范围为Φ410~Φ630mm。
d)       将伸缩臂4装入方管6,转动手柄8夹紧。
e)        将方管6装在调整支架15上,转动手柄7夹紧方管6,并把摆角滑架上的球头装入调整架后边的定位孔中,旋转螺钉10锁紧。
f)         将电机11的六方轴装入伸缩臂中的六方孔中,用后边的螺钉12锁紧。
g)        转动手柄149使研磨爪1上的研磨片准确对正并贴靠在阀体19的被研磨面上。
h)        用金刚石磨片研磨时,可加水进行冷却。
五、    工作前应注意事项
a)        5个研磨片应全部调整到能覆盖被研磨面,并尽可能位于被研磨面中心。
b)        在贴研磨砂纸前应将研磨片上的污物清洁干净。
c)        工作前应将5个研磨片轻微贴在被研磨面上。
d)       启动电机前研磨盘应贴靠在研磨面上,但不应压力太大,并先用手转动一下研磨盘听一下有无异常,启动电机后调整手柄14将压力调整为23kg(即调整研磨压力使研磨转速刚好稍低于无压力自由转动时的转速最合适)。
e)        研磨前应把被研磨面损伤部位的高点修掉,以避免撞击研磨片及改变研磨角度。
f)         应仔细阅读手枪电机使用说明书。
g)        如在温度较高的场所操作时,因不干胶带不能使用,可用紧固螺钉将金钢砂研磨片固定在研磨爪上研磨。
六、    装卡方法
装卡方法为三点安装法。固定底座17上的三点一定要稳定地固定在阀体的法兰上(见图5)。
 
 
 
 
 
a)          研磨带法兰的阀体。(见图6
b)          研磨不带法兰的阀体。(见图7
c)          研磨联结法兰。(见图8
d)         研磨闸阀阀板。(见图9
e)          研磨带栽丝(螺杆)的阀体。(见图10
七、    操作说明
a)        各部件按序装好。
b)        确认研磨盘在阀座表面的中心,如有误差可调整手柄89。
c)        旋转手柄14使研磨片与被研磨面轻微接触。
d)       启动电机使研磨头在无任何阻力下开始低速转动,一般磨小阀的转速调整为180rpm。磨较大的阀门时转速调整为100rpm
e)        研磨时手柄14应连续进给,不应使研磨盘和被研磨面松动。
f)         检查被研磨面的情况更换研磨砂纸,检查或更换完砂纸后方管6不需任何调整即可放回原位继续研磨。
g)        研闸阀时,拉出十字头杆d用螺丝a锁紧,螺丝b要稍松,螺丝c要拧紧。(见图11
h)        研截止阀时,十字头杆d插入并用螺丝a锁紧,螺丝b应轻轻拧入铜环刚好不能使且铜环转动,并松开螺丝c。(见图11
i)          本机使用后应认真进行清洁,并取下研磨砂纸。
j)          齿轮必须定期清洁干净并涂上润滑脂(二硫化钼)或类似的材料,不能使齿轮暴露,以免进入杂物损坏齿轮。
k)        联结盘3内的齿轮在使用前应加少量润滑脂(二硫化钼)使用后应封盖,以免进入杂物损坏齿轮。
八、    开关操作
电机的转速是通过改变开关压力控制的,当轻微按下开关时,转动速度较低,随着压力增加速度增快,旋转调速小轮(顺时针旋转为减速/逆时针旋转为增速)将速度调整到所需转速后,将控制按扭按下,可自行连续旋转。电动旋转过程中,可旋转调速小轮进行调速。当再一次按下开关控制按扭会自行脱开,放松开关即为?;?。
 
 
 


上一页:电机壳测试台,电机壳试压台,电机壳试验台   下一页:  ————  在线报价 电话:0577-21816666 传真:0577-67996922
电机壳测试台,电机壳试压台,电机壳试验..